Opis
Tehničke karakteristike
Техничке спецификације
|
Бренд |
Хита |
|
Модел |
F7546 |
|
Пн број |
F 7546 |
|
Опис |
И / О модул за спајање аутобуса |
|
Порекло |
Немачка |
|
Димензија |
21*15*7m |
|
Тежина |
0. 05кг |
Детаљи о производу
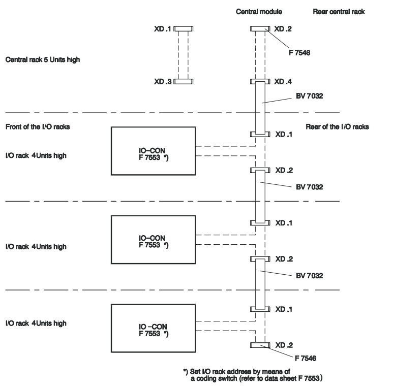
Престанак аутобуса Ф 7546 је прикључен у КСД. 2 конектор последњег И / О модула Субрацк за укидање и / О сабирнице.
Податковни прикључак И / О нивоа са Централним уређајем је основан преко И / О сабирнице. Модули за спајање и / о аутобуси су већ интегрисани у централни сталак. Са И / О носачем Веза са И / О-ом је преко модула спојнице Ф 7553 инсталирана у Слот 17. Повезивање аутобуса између појединачних подражаја је оснивало на задњој страни путем БВ 7032 дата кабла. Да се преврћу И / О аутобус, модул Ф 7546 прикључен је на почетку и на крају.
Модули за спајање и / о аутобуси су већ интегрисани у централни сталак. Са И / О Субраком веза са И / О сабирницом је преко модула спојнице Ф 7553 инсталирана у Слот 17. Повезивање аутобуса између појединих подражаја успостављен је на задњој страни путем БВ 7032 дата кабла. Да бисте прекинули И / О аутобус, Ф7546 модул је прикључен на почетку и на крају.
Да бисте прекинули аутобус, Ф7546 модул је прикључен на почетку и на крају.

Хикуад Х41Кс
Породица Х41Кс систем има модуларну структуру која укључује Х41Кс базни сталак и може се додатно опремити продужним сталак. Додатни носач за проширење може се користити за стварање вишка И / О структуре. Х41Кс базни сталак (Ф-Басе Ацк 02) може бити опремљен.
Комуникацијски модули су повезани на модуле процесора преко два системске аутобусе (А и Б) у вези са тачкама до тачке. Модул процесора у Слот 16 Контрола и монитори системски аутобус Док је модул процесора у Слот 18 контрола и монитори системским аутобусом Б.ДиРинуални операција, два модула процесора усклађује њихове податке.
РЈ -45 системски аутобуски интерфејси на задњој страни базног стакла користе се за повезивање И / О модула у базном сталак за Х41Кс на модуле процесора. И / О модул за прераду (Ф-ИОП 01) мора се користити у Х41Кс базним сталак за повезивање И / О-овог аутобуса у системске аутобусе. И / О ниво вишка на то у основном сталак може се поставити интегрисањем додатног алата за проширење у систему сабирнице Х41Кс базног стала.
Добродошли у упит!
МС.Смилинг Менаџмент продаје┃хина
АТХЕН: Смијан
Мобилни / ВхатсАпп / Вецхат: +86 18050035902
Е-маил:info@htechplc.com
Веб локација:хттпс: //ввв.јоиоунегинтл.цом/
Адреса: Соба 1904, не. 96-2 Лујианг Роад, симинг округ, Ксиамен, Кина.












